隨著產品設計趨向復雜化與功能集成化,越來越多的零部件采用了自由曲線或非標準輪廓結構——從發動機進氣道的流線型邊界,到消費電子外殼的R角過渡,再到醫療器械中的曲線。

這些曲線輪廓不僅影響外觀與裝配,更直接關系到氣動性能、密封性、耐磨性等關鍵功能。因此,如何準確評價其幾何精度,成為質量控制中的核心挑戰。
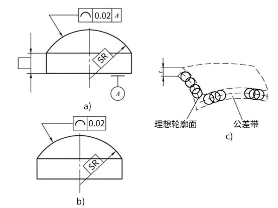
測量曲線輪廓度的核心意義在于通過量化實際輪廓與理想輪廓的偏差,確保產品幾何形狀滿足功能需求。其中,線輪廓度的公差帶是包絡一系列直徑為公差值 t 的圓的兩包絡線之間的區域。
輪廓度的計算不是單純的實際點和理論點的距離,而是實際點在理論點法線方向上的誤差。
如果單純的計算實際點和理論點的距離,會放大誤差,使合格產品變不合格產品,增加了產品報廢率。 如果和理論曲線做比較,是在理論曲線的法線方向的誤差。

NEW STANDARD系列影像測量儀能夠實現絕大部分產品的二維檢測并且兼容線激光、共聚焦點白光、接觸式和更換架等多種傳感器實現三維檢測,滿足客戶多種檢測需求。這是一款響應市場需求的高性價比機型。

這款影像儀的測量軟件RationalVue支持ISO、ASME兩種計算方式,確保測量結果在全球供應鏈中的通用性與權威性。
相比傳統方法(如公式計算),RationalVue 測量曲線輪廓度的方法操作更簡便、結果更可靠。客戶可根據被測件的材質特性、表面粗糙度及精度要求,
靈活選擇影像、激光或接觸式測量模式,實現真正的“一機多用、按需配置”。
當產品數模上缺乏可用于建立坐標系的基準元素時,RationalVue 憑借其獨特的實現方式和強大的算法,仍能實現實際測量曲線與理論曲線的精準比對。
測量完成后,所得曲線數據可直接輸出至 FormError 圖形誤差分析窗口,便于客戶進行后續的數據分析與評估。
1) 導入 CAD;

2) 用“選取連接曲線”的工具,在數模上點擊,會生成一條理論曲線;

3) 將理論曲線拖放到“元素編輯窗口”中;

4)用曲線工具,在要測量的實際邊界處給定起始點、 方向點以及終止點,軟件會自動完成尋邊測量;


5)測量完成后,曲線右鍵點擊“擬合”,理論曲線會自動對齊到實際曲線上;

擬合前

擬合后
5) 尺寸評價;

6) 將曲線拖放到 FormError 窗口,快速查看 Form 誤差;

7) 報告輸出。

思瑞測量NEW STANDARD系列影像測量儀搭配RationalVue軟件,結合了影像、激光或接觸式傳感器,實現對曲線輪廓度的精準測量。通過智能擬合算法,
軟件可在無基準情況下完成理論與實際輪廓的可靠比對,有效避免誤判,提升檢測效率與結果的準確性。
NEW STANDARD系列能夠實現絕大部分產品的二維檢測并且兼容線激光、共聚焦點白光、接觸式和更換架等多種傳感器實現三維檢測,滿足客戶多種檢測需求。這是一款響應市場需求的超高性價比機型。技術特點:? 造型及結構經過國
返回頂部